ÉTANCHÉITÉ À L’AIR À LA PORTE
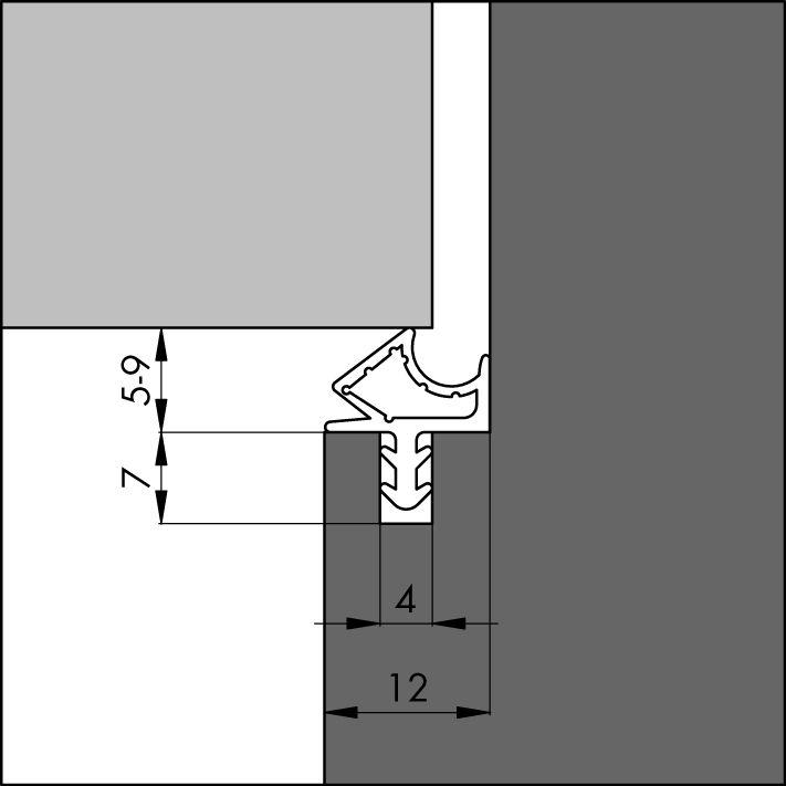
Profilé d'arrêt en plastique (TPE) à placer dans une feuillure de 12 mm d'un cadre de porte intérieur. Convient aux portes dont le jeu d'arrêt varie de 5 à 9 mm.
Ce profilé offre une faible résistance à la fermeture et est résistant à l'acrylique.
Description
- Profilé en plastique (TPE), noir
- Faible résistance à la fermeture
- Résistant à l'acrylique
- Application : feuillure d'un cadre de porte intérieur
- Peut être raccourci à la bonne taille
- Peut être monté dans la rainure sans tension de l'enrouleur
Details techniques
- Espace d'impact : 5 à 9 mm
- Dimensions de la rainure : largeur x profondeur : 4 mm x 7 mm
- Largeur de la feuillure : 12 mm
- Longueur sur bobine : 100 m

Specifications
| LONG. | Nº ART | COUL. | EAN (PIÈCES) | UNITÉ D’EMB. |
| 100 m | 656404200 | Noir | 8711286803231 | 1 rouleau/carton |
Instructions de montage
Les courants d'air à travers les fissures et les joints autour d'une porte intérieure peuvent être facilement stoppés en installant correctement le profilé d'arrêt. Lisez les instructions d'installation fournies, regardez la vidéo d'installation et suivez le plan étape par étape.
Préparez le matériel nécessaire à l'avance :
- Mètre ruban
- Stylo
- Pince coupante pour cadre ou ciseaux
Plan étape par étape pour l'installation du profil d'arrêt 4291 AC
- Retirez d'abord l'ancien profilé d'arrêt du cadre.
- Vérifiez que la hauteur de l'ancien profilé d'arrêt est identique à celle du nouveau.
- Mesurez l'ancien profilé d'arrêt et coupez le nouveau légèrement plus long.
- Placez le nouveau profilé d'arrêt dans le cadre. Commencez par le haut du cadre.
- Procédez dans le sens des aiguilles d'une montre.
- Coupez le profilé d'arrêt à l'aide d'une pince coupante ou de ciseaux.