ÉTANCHÉITÉ À L’AIR À LA PORTE ET À LA FENÊTRE
Le profilé de cadre en plastique 8450 ACBF est la solution idéale pour sceller les interstices et les joints autour d'une fenêtre ou d'une porte.
Ce profilé est étanche aux courants d'air, résistant à l'acrylique, muni d'un film protecteur et offre une faible résistance à la fermeture. De plus, il se découpe facilement, même en biais.
Idéal pour remplacer les joints de cadre existants. Joint de cadre circulaire pour fenêtres et portes avec une largeur de feuillure de 15 mm.
Description
- Profilé en plastique (TPE)
- Résistant aux courants d'air
- Résistant à l'acrylique
- Fourni avec un film protecteur
- Dos rigide
- Faible résistance à la fermeture
- Fil de renfort dans la tête
- Facile à couper en biais
- Application : portes et fenêtres
- Peut être raccourci à la bonne taille
- Peut être monté dans la rainure sans tension de l'enrouleur
Details techniques
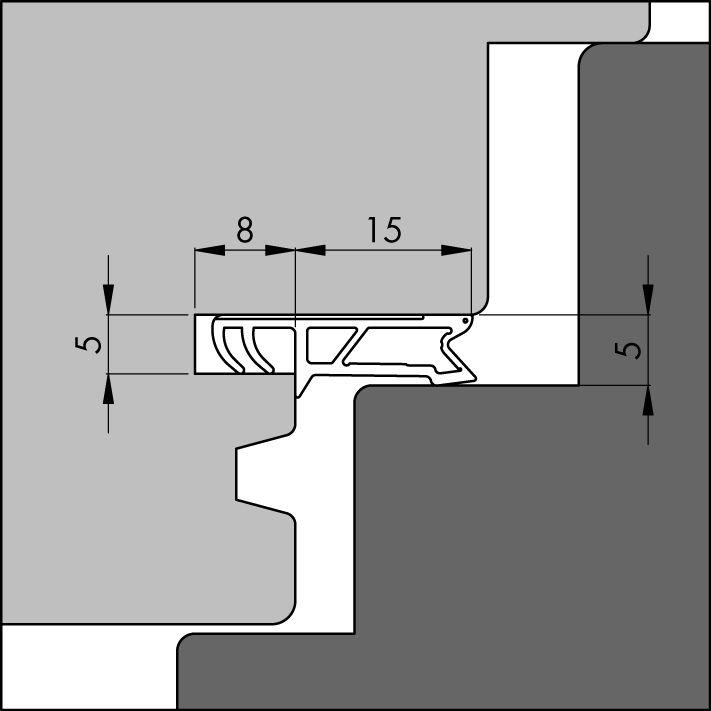
- Dimensions de la rainure : largeur x profondeur = 5 mm x 8 mm
- Espace de suspension : 5 mm
- Largeur de feuillure (hauteur de la tête) : 15 mm
- Longueur : 160 mètres sur bobine

Specifications
| LONG. | Nº ART | COUL. | EAN (PIÈCES) | UNITÉ D’EMB. |
| 160 m | 670804200 | Noir | 8711286804252 | 1 rouleau/carton |
Performance
- Valeur C : 0,00681 dm³/s. Paⁿ (classe 3)
- Classification selon la norme NEN EN 12365 : W35144
Instructions de montage
Les courants d'air à travers les fissures et les joints autour des fenêtres et des portes peuvent être facilement évités en installant correctement le profilé de cadre. Lisez les instructions d'installation fournies, regardez la vidéo d'installation et suivez le plan étape par étape.
Préparez le matériel nécessaire à l'avance :
- Mètre ruban
- Stylo
- Pince coupante pour cadre ou outil de coupe
- Ciseau
Plan étape par étape pour l'installation du profil de cadre 8450 ACBF
- Retirez d'abord l'ancien profilé du cadre.
- Vérifiez que la hauteur de l'ancien profilé correspond à celle du nouveau.
- Mesurez l'ancien profilé et coupez le nouveau légèrement plus long.
- Placez le nouveau profilé dans le cadre. Commencez par le haut du cadre, au milieu.
- Travaillez dans le sens des aiguilles d'une montre. Tracez une ligne dans le coin supérieur droit du profilé.
- Coupez le profilé à l'emplacement de la ligne. Utilisez une pince coupante ou un outil de coupe.
Attention : le profilé ne doit pas être coupé complètement !
> Outil de coupe : placez le cadre avec la ligne au milieu et découpez l'angle avec un ciseau.
> Pince coupante : placez le cadre avec la ligne au milieu et découpez l'angle.