ÉTANCHÉITÉ À L’AIR À LA PORTE ET À LA FENÊTRE
Profilé de cadre coupe-vent et étanche pour fenêtres et portes. Le montage du profilé de cadre en silicone permet de bien colmater les joints.
Le silicone flexible offre une faible résistance à la fermeture et est facile à découper. Les rouleaux de 25 mètres sont fournis avec une aide à la découpe pratique.
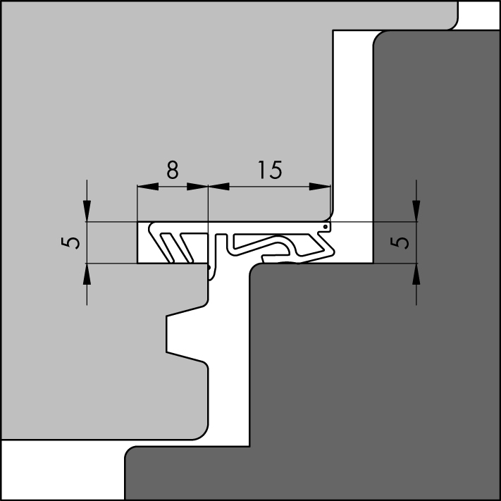
Joint de cadre circulaire pour fenêtres et portes avec une largeur de feuillure de 15 mm.
Idéal pour remplacer les joints de cadre existants.
Description
- Joint de cadre flexible en silicone
- Résistant aux courants d'air
- Faible résistance à la fermeture
- Avec fil de renfort en tête
- Rouleau de 25 m fourni avec guide de découpe et instructions pratiques
- Application : pour fenêtres et portes
- Facile à découper, même en biais
Details techniques
- Profilé de cadre sur bobine : 25 m ou 150 m
- Écartement maximal : 7 mm
- Dimensions de la rainure : 5 x 8 mm
- Largeur de feuillure (hauteur de la tête) : 15 mm
- Longueur totale : 25 m ou 150 m

Specifications
| LONG. | Nº ART | COUL. | EAN (PIÈCES) | UNITÉ D’EMB. |
| 25 m | 680304950 | Noir | 8711286805655 | 1 rouleau |
| 150 m | 680304901.1 | Noir | 8711286805211 | 1 rouleau |
Performance
- Valeur C : 0,0041 dm³/s. Paⁿ (classe 3)
- Classification selon la norme NEN-EN 12365 : W45177
Instructions de montage
Les courants d'air à travers les fissures et les joints autour des fenêtres et des portes peuvent être facilement évités en installant correctement le profilé de cadre. Lisez les instructions d'installation fournies, regardez la vidéo d'installation et suivez le plan étape par étape.
Préparez le matériel nécessaire à l'avance :
- Mètre ruban
- Stylo
- Pince coupante pour cadre ou outil de coupe
- Ciseau
Plan étape par étape pour l'installation du profil de cadre 1501 SCF
- Retirez d'abord l'ancien profilé du cadre.
- Vérifiez que la hauteur de l'ancien profilé correspond à celle du nouveau.
- Mesurez l'ancien profilé et coupez le nouveau légèrement plus long.
- Placez le nouveau profilé dans le cadre. Commencez par le haut du cadre, au milieu.
- Travaillez dans le sens des aiguilles d'une montre. Tracez une ligne dans le coin supérieur droit du profilé.
- Coupez le profilé à l'emplacement de la ligne. Utilisez une pince coupante ou un outil de coupe.
Attention : le profilé ne doit pas être coupé complètement !
> Outil de coupe : placez le cadre avec la ligne au milieu et découpez l'angle avec un ciseau.
> Pince coupante : placez le cadre avec la ligne au milieu et découpez l'angle.